如果我们回顾过去十年,无论空气动力学有多少工作,都没有摩托车具有空气动力的附录。动荡,穿透,阻力和其他几乎没有工作。但是在这一部分中,空气动力学已经演变为尤其是MotoGP的声音,如今,许多街头摩托车已经在这方面提供了技术解决方案。
品牌押注遵循这一行,尤其是在运动模型中,这使得研究了新的空气动力学解决方案。其中之一来自CFMOTO的手,该手正在处理不固定的机翼,但根据需要扩展或缩回。
主动空气动力学根据速度做出反应
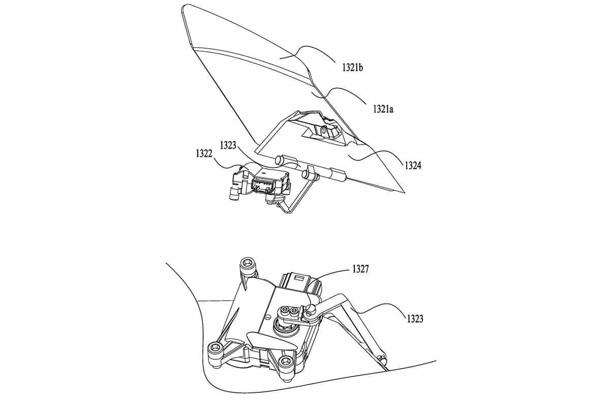
该系统本身在方法上非常简单,因为有一种铰链以及通过使用或收集的伺服器执行器。更复杂的是检测到您何时必须部署或撤回它们的系统,并且在专利中尚不清楚。众所周知,该系统检测到速度,并且在60至100 km/h之间展开,但正是它的速度。
多亏了该系统,您可以在必要时获得空气动力学负载并进行低速驾驶,此外,除了防止摩托车实际上是在机动时以某种方式钩住的。
无论如何,尚不清楚的是,该移动空气动力学系统将启动的摩托车,以及即使在几个月前我们与您与您交谈的750SR-R等展览中,我们是否已经在任何模型中都看到了,或者它保留在预期的V4中。
只有时间会说,可以肯定的是,制造商每天都会在那些直到最近为汽车保留的空气动力学解决方案中采取更多步骤。