从几年到这一部分,MotoGP中使用的复杂技术通常会受到新创新品牌的开发中,这些新创新的重点是改善竞争中摩托车的性能。在这方面,可能是本田最后一项专利的情况,尽管最初是在当前CBR250RR的平台上呈现的,这是日本公司在亚洲大部分市场上推销的模型。
分析了最后一项本田专利的相关图像,我们可以看到该品牌的设计似乎有一个主要目标: 避免轮胎过热。为此,它提出了轮胎的特殊设计,以及添加空气动力学屋顶和巨大的圆盘,这些圆盘几乎覆盖了前轮胎本身的整个内表面。
本田的最后一项专利重点是管理制动温度
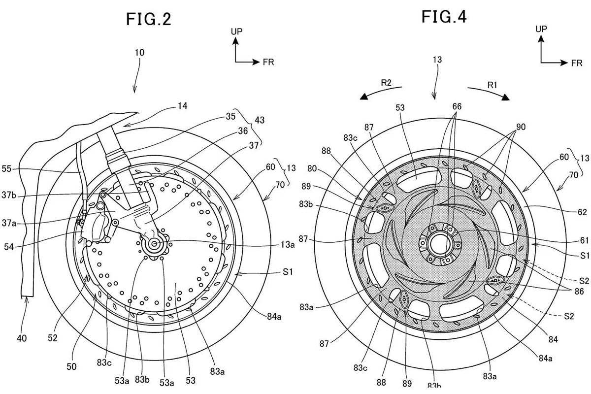
关于上一届本田专利,我们有详细的文章,其中我们解释了摩托车的制动器如何工作。这些圆盘的直径为320、340甚至355毫米,通常是用碳水化合物材料制造的,也可能具有更大或更少的密度,具体取决于始终需要的条件。更高的密度更好地撤离热量,反之亦然。
我们必须考虑到这些制动系统会受到有时可能达到800º的温度的约束,因此,除了制造中使用的材料外,构成该系统本身的某些元素具有特殊的设计,目的是撤离该地区最大的热量。例如,具有冷却鳍和通风活塞的夹具。
现在,有了本田的最后一项专利,我们可以看到金翼的签名如何在此问题上进一步迈出一步。尽管该文档并未指定仅针对竞争的这种技术创新,但将其安装在街头摩托车上是没有意义的。在CBR250RR中更少,在任何情况下,它都会提供离散的好处。
前轴(可能是用碳纤维制造的)以及旨在消散该特定区域中产生的热量的侧面空气动力塔帕博斯的巨大光盘。正如自行车世界所解释的那样,在获得专利本身后, “镊子只能像常规设计一样保持光盘的边缘,但是宽阔的中央部分充当散热器,将温度分布在更广阔的区域上。”
最后,我们可以验证如何 “The tapacubos … fulfill two functions. The face near the disc has aerodynamic elements in the form of a blade to dissipate the heat, while small bumps (marked with a” 90 “in the images) are supported against the tire, minimizing the contact between the roof and the wheel and maintaining a constant air space to isolate the heat tire that passes from the brake to the tapacubos. When preventing the brake temperature from being transmitted轮胎,防止前轮胎过滤。