KTM专利联合技术混合压缩机

当他们试图塑造新一代混合压缩机系统时,他们会从KTM研发部门思考“单位和胜利。”基本上,因为这将介于当前使用川崎的技术之间的一半 新的V3引擎

简而言之,奥地利品牌将开发一种机电压缩机,结合了两种技术配置的好处。

KTM混合动力压缩机将在几乎所有燃烧摩托车上装备有效。

KTM最近制作的专利记录使我们对欧洲公司内的机械设计可以去哪里。但不仅如此;它还批准了两个轮扇区内不同类型的压缩机的实现。如果生产将加入两个日本品牌,这些品牌目前更专注于其内燃机中该技术的开发:川崎和本田。

第一个是在其H2忍者中使用机械压缩机。本田在上一个EICMA版本中发表的本田呈现,其新的四笔中风V3和75°配备了世界上第一个用于摩托车的电气压缩机,该压缩机可以控制入场空气的压缩,而不管发动机转速如何,这意味着,高响应的扭矩甚至可以传递到低转速。


KTM专利联合技术混合压缩机

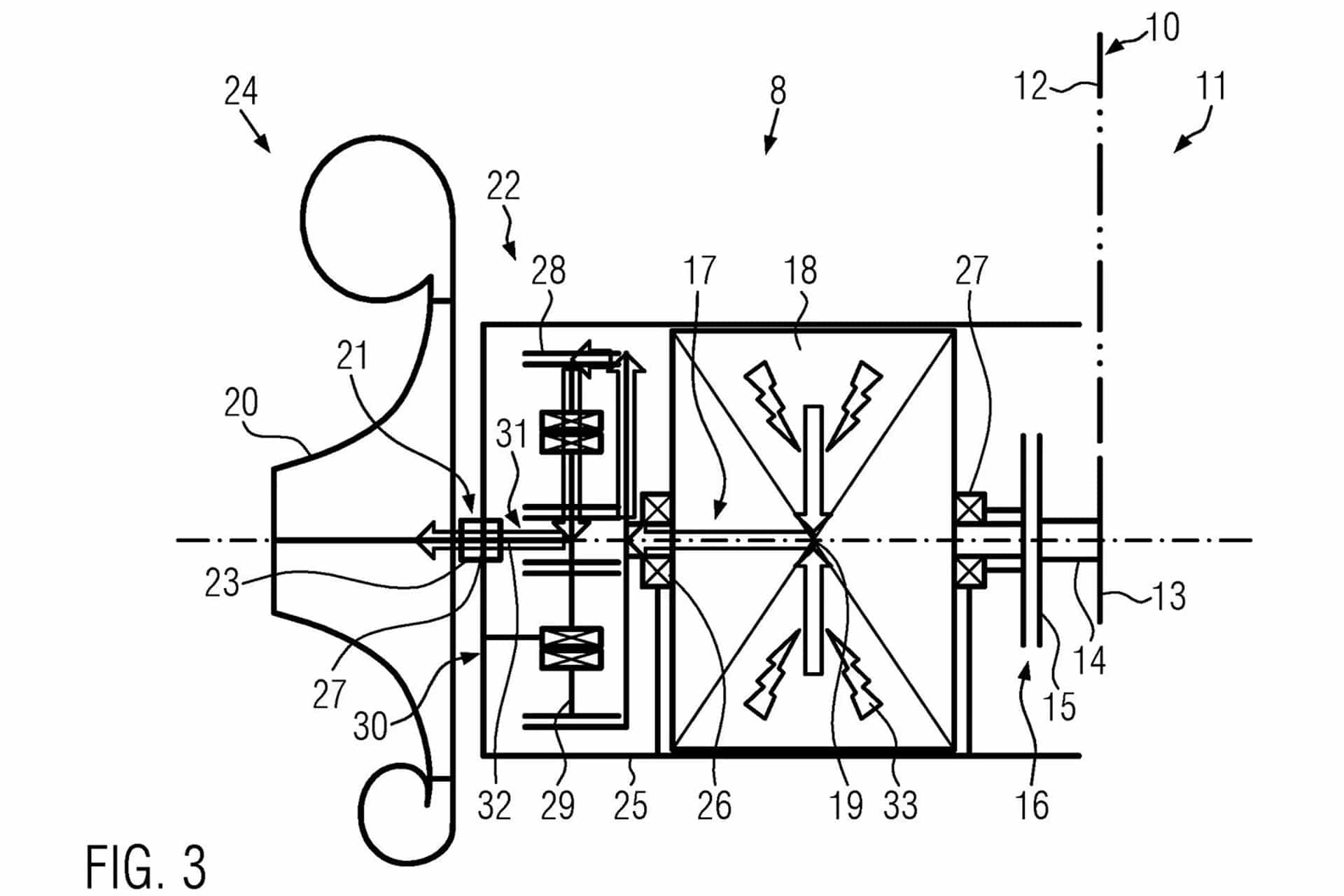
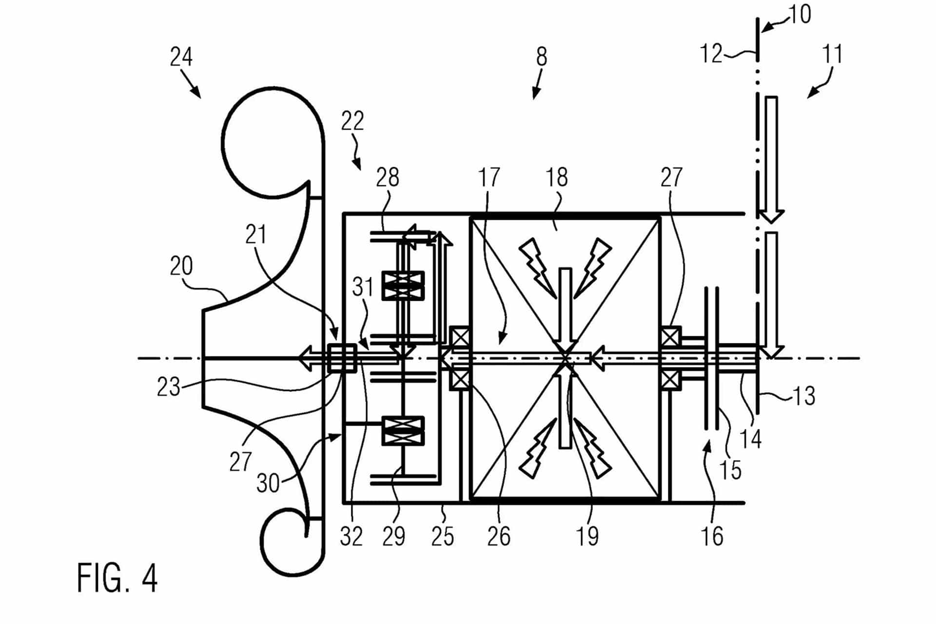
现在,KTM希望以他自己的愿景更进一步,即混合压缩机如何集成到摩托车机械中。如所详述 循环世界 “在这项KTM专利中,它肯定了使用螺旋型压缩机(类似于大众G-Lader吹风机)的意图,尽管该文件表明也可以实施离心机增压器(例如,川崎和本田V3概念使用的)。”

作为KTM混合压缩机和两个日本发动机使用的巨大差异,我们在它们的驱动器中找到了它,因为它同时使用了与发动机曲轴和电动机的机械连接。这样,运营效率大大提高。在本purvis对此事的忠实描述中进行挑选:


KTM专利联合技术混合压缩机

«当您需要使用电能以比发动机的RPM更快的速度时,压缩机和发动机之间的小离合器可以在压缩机和发动机之间进行电子操作。通过分解增压器,如专利的图表所示,发动机条目来自连接到发动机输出轴的变速器链(图中的12号)。 »» 共同体,KTM混合压缩机系统将在整个可用的革命中实现更大的力学效率。

但不仅如此;此外,发射的排放水平可以降低,我们不会遭受传统涡轮增压器的烦人延迟,这一方面在摩托车行业和汽车中终止了八十年代的这种技术。最后,澄清不需要强大的电量或大小的电池,因为电力只能在有限的情况下使用。这将是负责在他人中充当能源生成器的增压器。