铃木计划彻底改变其小型摩托车,并已经为其申请了专利

并非第一次,我们假设最后一个是与VVT系统有关的专利注册图像,铃木在该系统中宣布了一段时间。尤其是注定要改善其某些模型的好处的一种,该模型包含在低和半播放段中。

回想一下,在2016年,我们发布了一段视频,其中显示了铃木赛车变量定时(SR-VVT)的功能,该系统显示了一个系统,铃木通过该系统改变其GSX-R1000的分布,以获得高功率。截至2020年,只有四个品牌在其街道模型之一中应用了这项技术:本田,杜卡迪,宝马,雅马哈和铃木。

Suzuki Broad Horizo​​ns及其VVT系统

但是,这家日本公司不想呆在那里,也就是说,仅向诸如上述GSX-R1000或其标志性的Hayabusa 1300的拉力赛模型提供这种技术。实际上,这项技术创新能够为该品牌提供能够将后者适应当前的EURO5 EURO5+法规。在2023年夏天,我们已经亲自知道了铃木如何录制VVT系统的新专利,旨在精确地使用该模型。

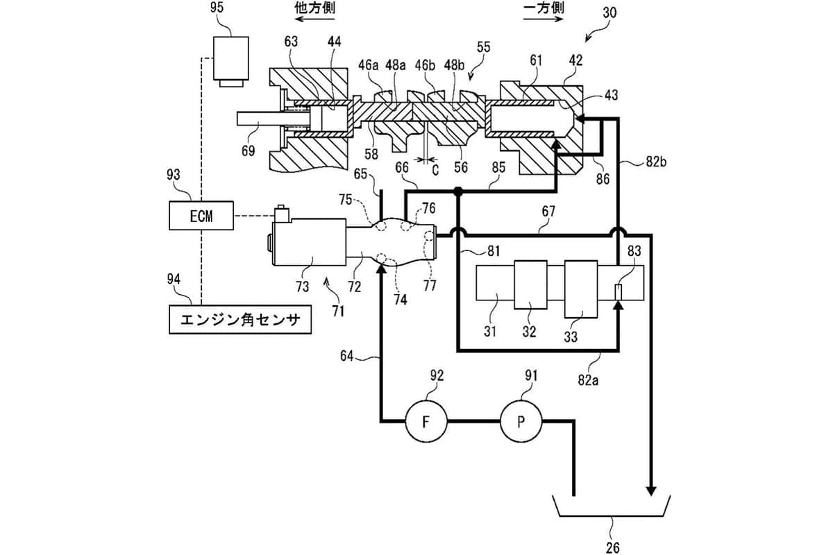
通过此系统,发动机的分布有所不同,以便获得高度制度并减少污染排放的能力。高旋转阀的定位确保使用燃料并最大化进入气缸燃烧室的空气进入。此外,它可以确保我们的气体全部由逃生系统留下。


铃木在其VVT系统开发的低和半位置发动机的开发方面进展

这证明了铃木以某种原因诉诸VVT系统以适应当前对法规的要求: 节省成本,也不必在构成当前Hayabusa的任何关键要素中进行草稿修改。同样的方法似乎已经达到了目前销售该品牌的其他较小位移的模型。

这个主题也不是新事物,因为去年以来,专利登记的第一张图像与带有可变阀同步的小型双膜螺旋桨有关。该概念已经在生产中进行了测试。独特的凸轮轴有三个裂片,每个圆柱体,一个排气之一,两个入院都不同。


铃木在其VVT系统开发的低和半位置发动机的开发方面进展

入院叶具有不同的提升和持续时间剖面。 VVT系统基于两个部分的进气门阀摇杆,由金属引脚控制,该金属销会被油压激活,因此可以根据需要在libulums之间发生变化。尽管维护了基本的发动机设计,但可变阀系统的添加代表了显着的演变。

该主题上的最新图像表明,该品牌继续致力于在低位移引擎(250 cc)中集成的VVT系统的开发。据信,这项技术可能比较晚的品牌模型更早到达,例如当前的V-STROM 250或GSX-250R,均由水冷的单托管驱动。


铃木在其VVT系统开发的低和半位置发动机的开发方面进展

原因不过是上面已经解释的:需要提高问题的绩效以及可能的好处。当他们详细介绍遮阳板: “该专利是指带有单头树(SOHC)的四阀发动机,并包括一个可变分配系统(既有升高和持续时间),该系统由液压执行器进行调整。”