行李箱中的电自主扩展系统

最近,KTM已注册了一系列专利,这与整合A的可能性有关 电力扩展系统 到品牌摩托车。此外,这家橙色公司为我们提供了多达三种不同的方式,即使是这样,它也可以作为标准套件推销,适用于市场上大多数市场摩托车。

KTM电气自主扩展系统详细

近年来,与任何标准的同源燃烧模型相比,电摩托车在两个方向领域中尚未获得更大的自治范围的最明显原因之一。尽管对于许多用户而言,这并不是必不可少的,但由于他们没有定期进行长时间的旅程,但骑自行车的人社区的另一部分确实看到了障碍,而这种障碍是在使用限制的情况下。

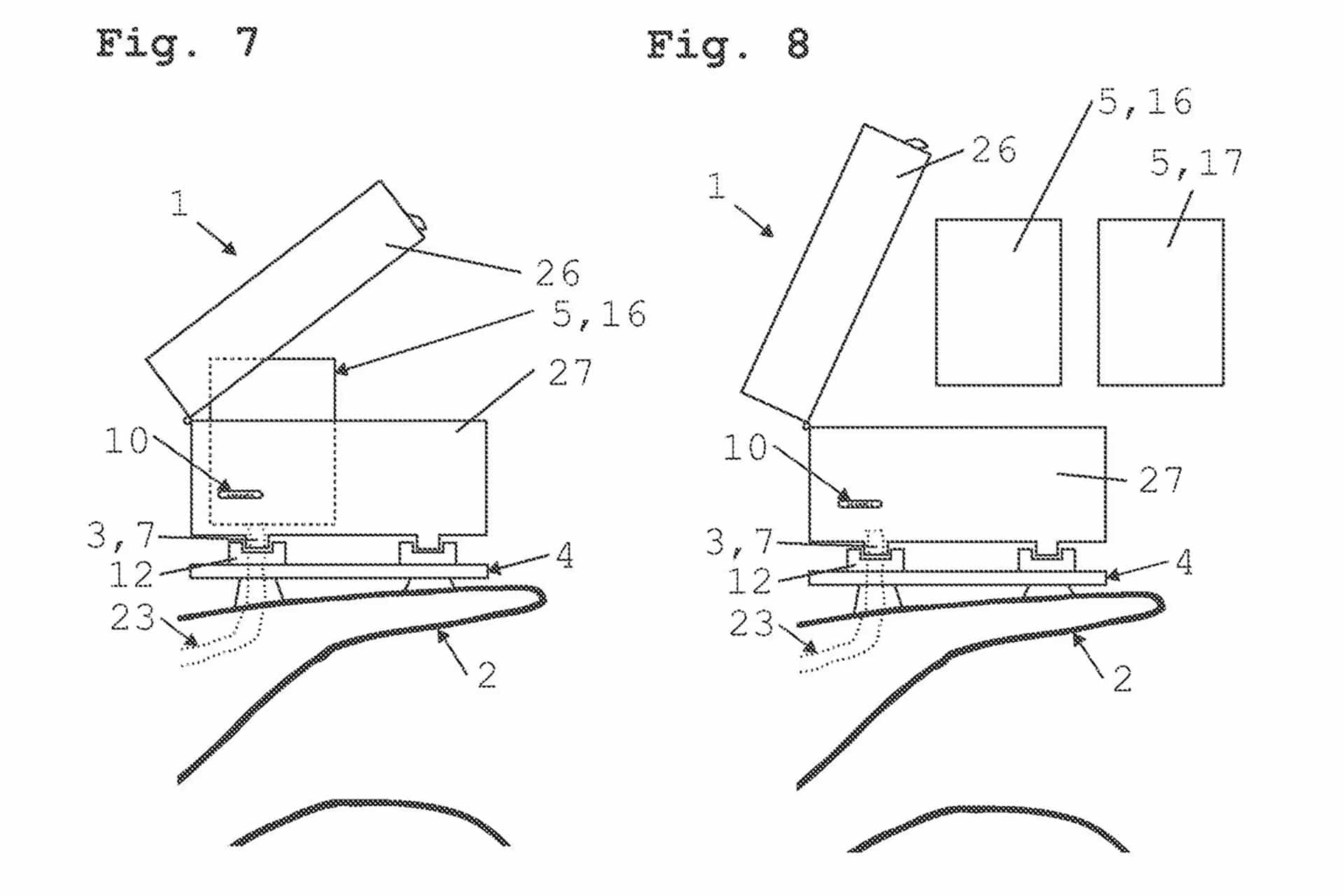
也许这就是为什么KTM设计了这种在插头摩托车上扩展电自主权的系统的原因,该系统也在三个不同的建议下也呈现。所有这些都以演示模式共享共同的配置。这继续包括一种后顶案例,我们可以在其中安装不同的团队,具体取决于他们中的哪些可能会使我们更感兴趣。

KTM记录与电动自治扩展系统有关的新专利

从第一个替代方案开始,我们可以在专利的图像中可视化主框中的图像,该图像形成了这种扩展电气自治系统的系统,将包括一个小的汽油发生器,又将包括在一个小尺寸的小油箱中。

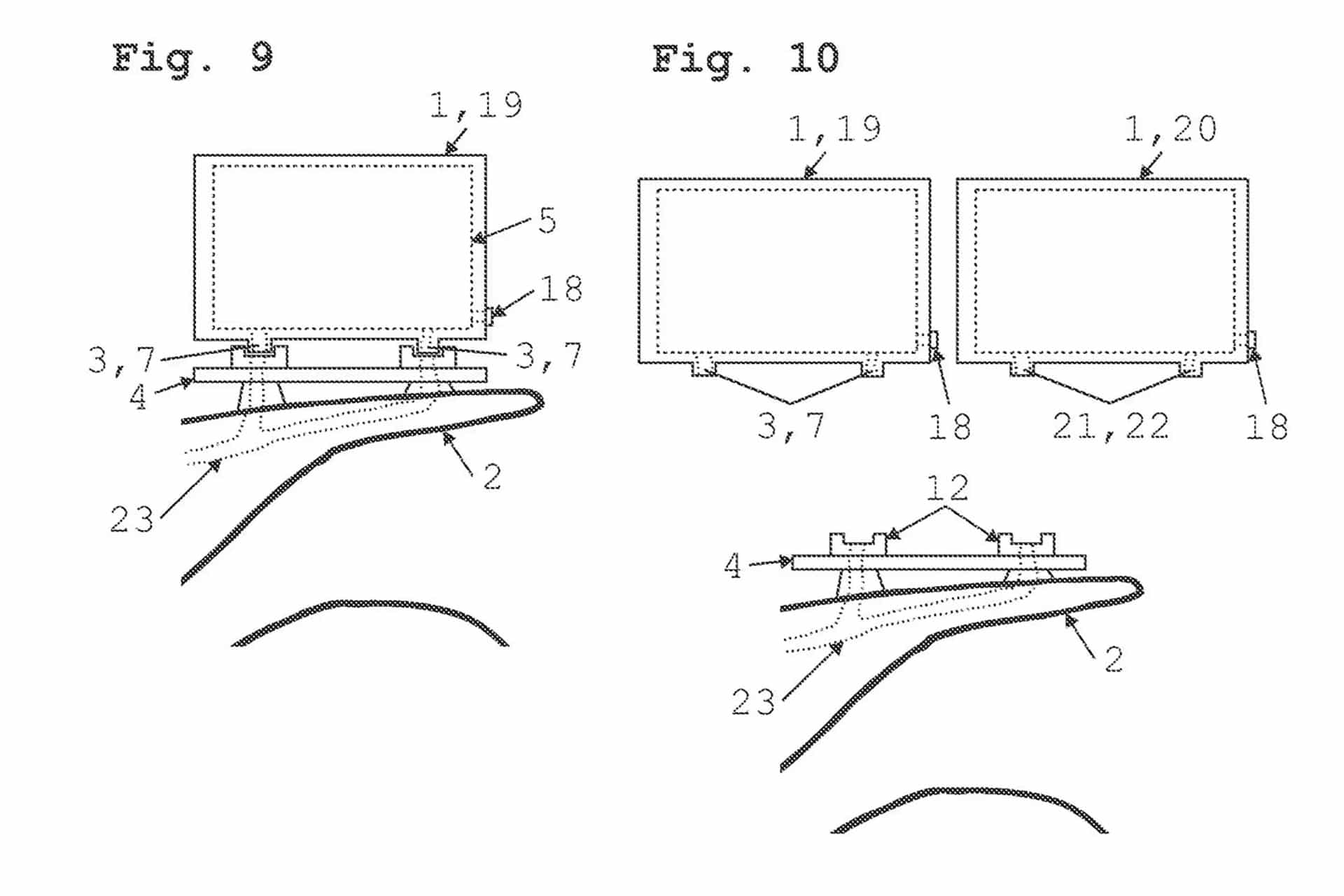
当他们从周期世界中详细介绍时,这个想法是产生负责供电主摩托车电池的连续电压。该案件甚至可能既站立又跑步,在我们停放摩托车时,可以促进电池本身的充电。另一方面,作为KTM电气自主扩展系统的第二种变体,我们将用一堆能量代替燃油发动机。

KTM记录与电动自治扩展系统有关的新专利

目前尚不清楚我们是否谈论一堆氢,因为在某些时候尚未指定这项技术以达到寻求的效率。最后,作为由KTM注册的电气自治扩展系统的第三版,它将使我们能够集成不同的其他电池,无论是否可以互换。即使是最高案例本人也可以拥有一个独立的装载系统,因此无需拿出内部电池以进行充电。

当我们谈论一个概念系统时,很明显,KTM试图改善两个轮电力部门中的关键方面。此外,这种电气自治的扩展系统可以具有标准的商业版本,无论他们拥有的电动摩托车模型如何,都可以满足更多用户的需求。