您是讨厌模块头头盔的人之一吗?等待看这鞋

我们认为,在某个时候,多个将被诱惑获得 模块头盔,要么是因为您必须续订当前使用的诱惑,要么仅仅通过诱惑来证明它们在各个层面(舒适,安全,通风等)的工作方式。

但是,大多数最终排除了有关相关问题的可能性的用户,通常是针对这种头盔模式的设计和调整。

Shoei重塑了模块头头盔的想法

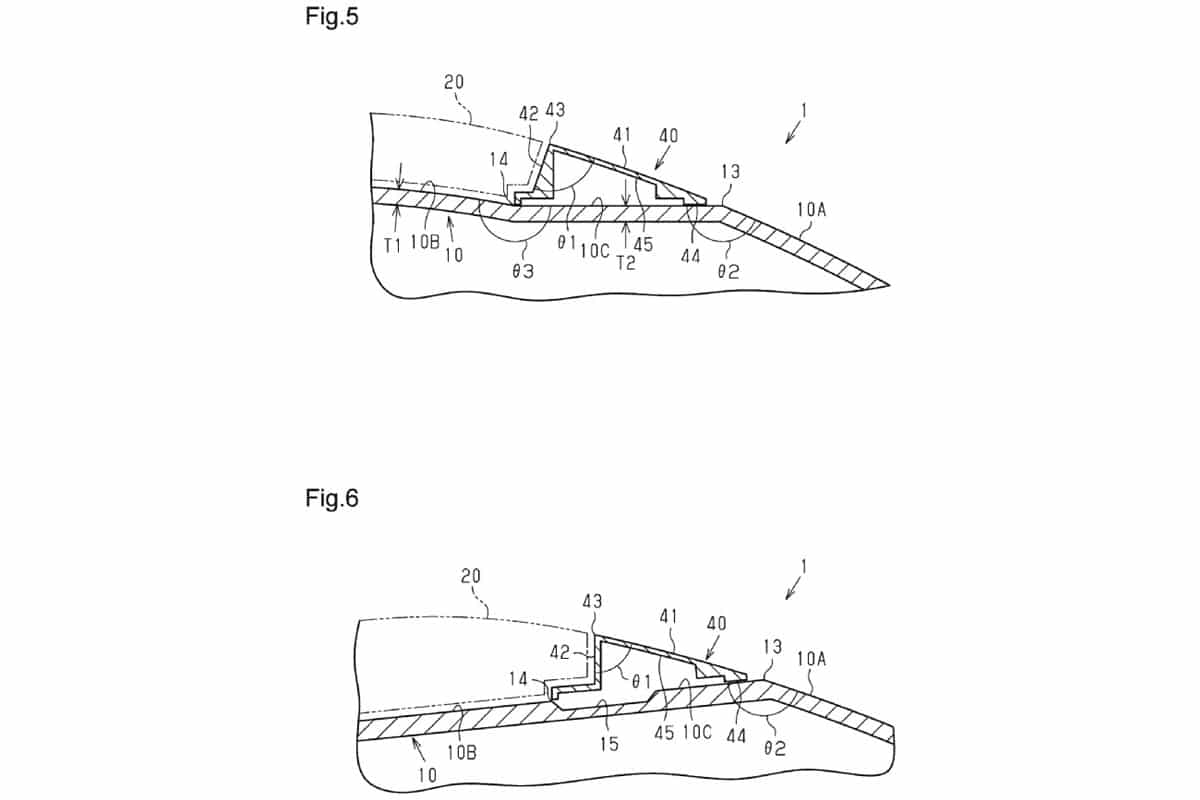
最近,由于Ride Ither的同事,我们遇到了Shoei专利的注册,这是指确切的新模块化案例设计。正如我们可以在附件图像中观察到的那样,日本品牌似乎已经设计了一个系统,以最大程度地提高头盔本人和下巴部分之间存在的卷变化。

众所周知,在模块化头盔中,后者以折叠方式与主要外壳分开,因此这种头盔类型的技术面额。但是,双方之间的这种断开过程产生了一系列统一的轮廓以及在商业事务中提供无吸引力的视觉图像的不同联合区域。

Shoei试图在其最后的专利中创建最终的模块头盔

然后是卷的一部分,因为模块化头盔精确地是在Mentonera区域具有较高表面,以补偿自己的操作,并处理与每个模型的最终安全性和同源物相关的各种问题。

为了解决模块头盔带来的这些不便的很大一部分,因此对于各种用户而言,获取不那么有趣,Shoei已为解决这些方面的系统申请了专利。为此,他们开发了一个额外的作品,在打开和关闭头盔时可以作为过渡。

Shoei试图在其最后的专利中创建最终的模块头盔

这样,不仅可以软化一般线条,而且可以使它们更加紧凑,而不会失去模块头盔通常为我们提供的好处。如专利本身所详述,指的是遵守外侧侧面的新组件:

“每个固定表面从弯曲表面降低到头盔的身体内部,以减少关闭元件和弯曲表面的外表面之间的高度差。” 通过这种方式,除了具有统一的地狱厚度外,还可以有效地分布能量吸收。您只需要问,我们会很快在任何Shoei模块头头盔的型号中看到该系统吗?