川崎公司申请了一种带有假“第五气缸”的液氢发动机专利。这就是它的工作原理

川崎运用日本工作理念所特有的耐心和毅力,通过注册与由 氢, 以及在液态储存时最大化其效率的必要系统。

毫无疑问,在该品牌多年来致力于的这一革命性项目中,“阿喀琉斯之踵”之一就是储存气体本身的困难。从这个意义上讲,最明显的例子来自于比较容纳相同升汽油和氢气所需的空间。具体来说,如果是气体,则需要六倍的空间。

川崎注册了氢动力内燃机的新设计

液氢可能是解决方案

人们一直在讨论能够使用这种液体形式的氢而不是气体形式的氢。正如我们在本文前面所解释的,就其质量而言,氢气比汽油具有更高的能量密度。然而,其能量密度相对于其体积要低得多。

按质量计,氢含有 120兆焦耳/千克,几乎是三倍 46.7 兆焦耳/千克汽油。但在体积上,即使被压缩 在 700 巴压力下,氢气仅达到5.6兆焦耳/升,而汽油达到32兆焦耳/升。

川崎注册了氢动力内燃机的新设计川崎注册了氢动力内燃机的新设计

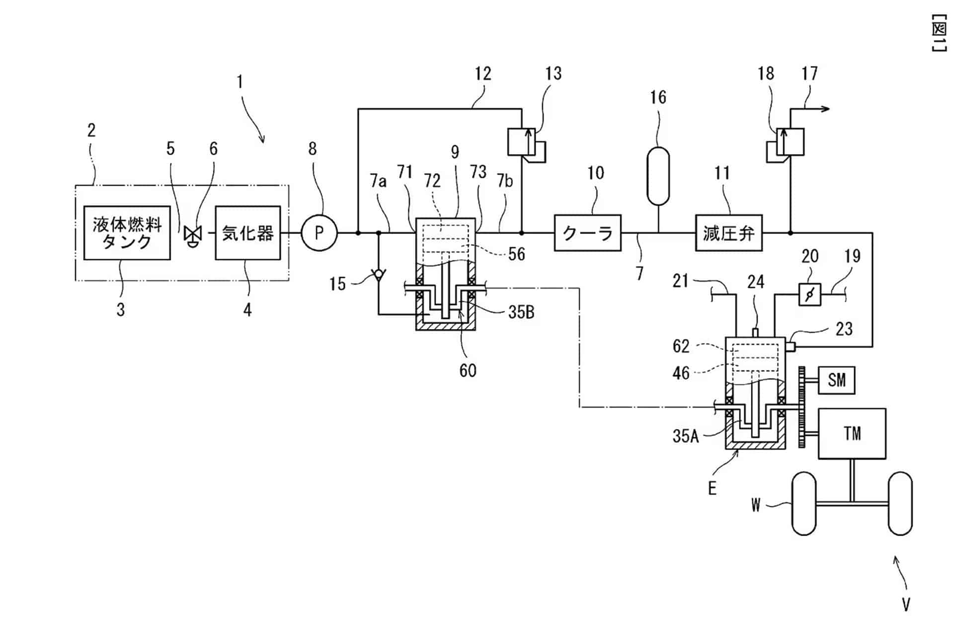
川崎重工申请的新专利旨在从用于推动 H2 HySE 的压缩氢气转向液态氢。问题是需要必要的压力才能将其直接喷射到燃烧室中。正如自行车世界的同事所解释的那样, “需要一个燃油泵来补偿;或者,在川崎的新设计中,需要两个,第二个由集成到发动机本身的附加气缸和活塞组成。”

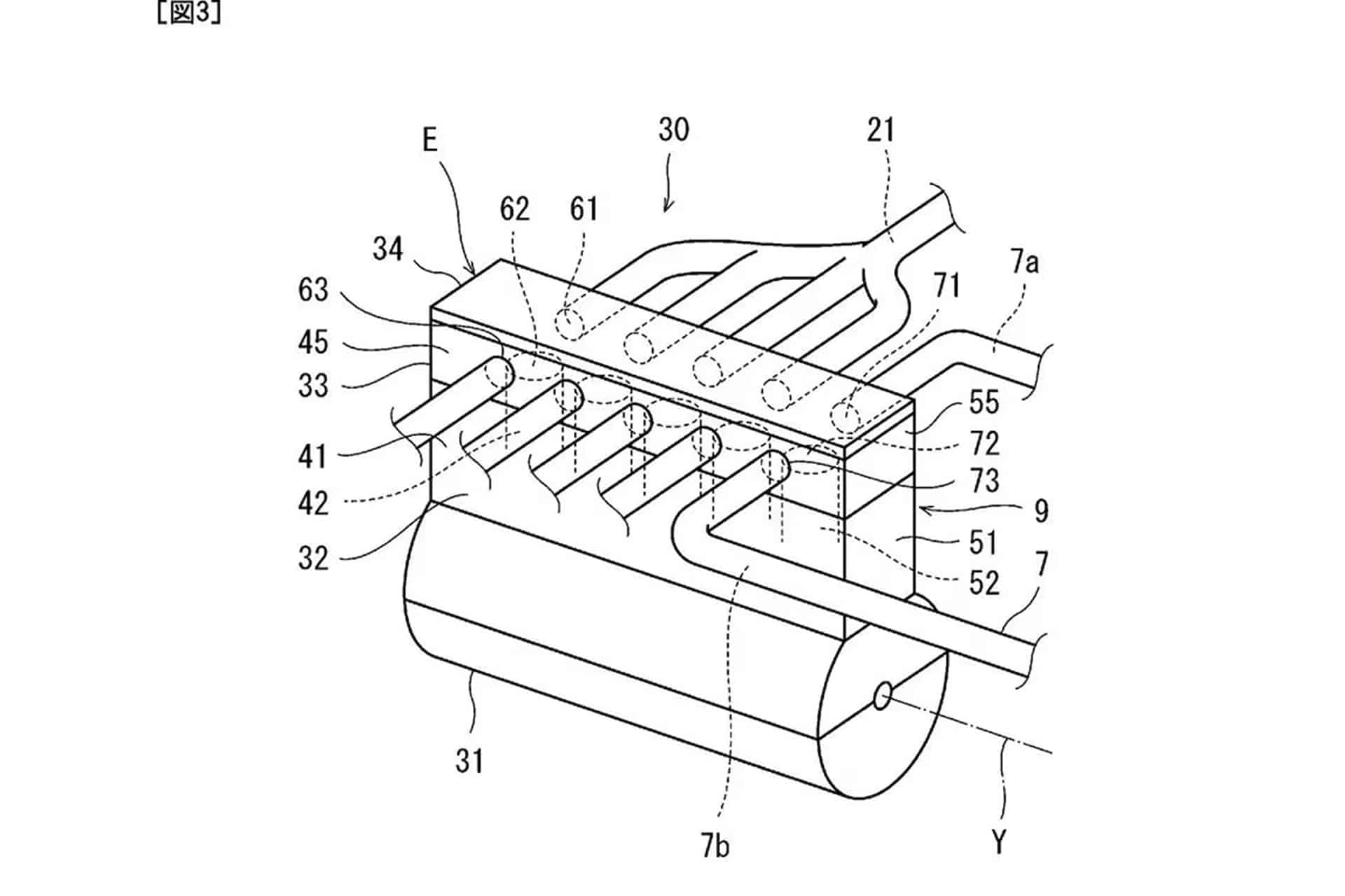
在专利局注册的图像向我们展示了一款四缸直列发动机,燃油泵连接到机体本身,乍一看,它给人的印象是第五个气缸。通过添加两个侧泵,可以在 V8 发动机中复制相同的技术配置。

川崎注册了氢动力内燃机的新设计川崎注册了氢动力内燃机的新设计

因此, “氢气以液态储存在罐中(图中标记为“3”)。从那里,它进入汽化器(4),使其达到足够的温度以汽化,然后进入旋转泵(标记为“8”),将其驱动到更大的往复活塞泵(“9”),该泵看起来像一个额外的气缸和活塞,由发动机曲轴驱动。”

最后,应该指出的是,该泵能够将燃油压力提高到约 1,500 psi 或更高。此时它可以有效地喷射到燃烧室中。无论如何,我们谈论的是“理论”,因此该技术解决方案短期内不太可能最终应用于汽车行业。考虑到储存液态氢本身的复杂性,摩托车发动机的情况更是如此。