丰田获得了具有可互换油箱的氢摩托车专利

多年来我们一直听说氢能项目,其发展速度比想象的要慢,但同时仍在继续推进。丰田就是其中之一,该公司现在似乎专注于两轮汽车。

至少这是他们最近在日本提交的泄露专利所反映的,该专利描述了一款由氢电池驱动的踏板车,有一个有趣的细微差别:它不考虑加油,而是考虑更换油箱。

该文件参考了备受关注的铃木伯格曼氢燃料电池,该氢燃料电池在大约 15 年前首次亮相。以此为基础,丰田创造了自己的解释,利用氢来发电。

该系统专注于可互换的“气缸”
该系统专注于可互换的“气缸”

该专利中描述的系统避免了高压加油。相反,它建议使用可以快速更换的预充电水箱,我们不久前已经看到了这一点,其过程类似于更换某些电动车型的电池。操作很简单:取出空油箱并在服务站放置一个满油箱。目的是简化氢气的使用,并避免正常条件下与储存和补充燃料相关的限制。

拥有可互换的氢气罐会带来其他困难

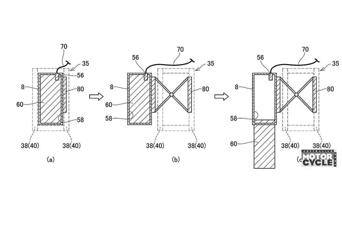
该专利详细说明的要点之一是将油箱集成到踏板车的结构中。所提出的解决方案旨在降低重心,但在更换重心时使访问变得复杂。

为了解决这个问题,丰田提出了一种铰接系统,可以将坦克移动到侧面。详细介绍了两种变体:一种带有前铰链,使水箱突出到一侧,另一种带有剪刀式臂,可以移动它,使其与组件保持平行。

这些专利旨在解决矿床的位置问题这些专利旨在解决矿床的位置问题
这些专利旨在解决矿床的位置问题

根据文件本身,这种类型的解决方案非常适合燃料电池。与氢燃烧发动机(例如我们在川崎看到的 H2 HySE 发动机)相比,它可以保持更高的效率,并避免氮氧化物排放。此外,使用密封罐有助于保护系统免受可能的污染物的影响,这在此类技术中尤其敏感。

目前没有任何信息表明短期生产模式。该专利目前处于概念阶段,尽管它明确表明丰田有兴趣将其氢战略扩展到小型车辆。