印度摩托车在带有隐藏雷达的灯塔中工作,以维持其经典的美学

印度摩托车 他不想成为第一个引入前雷达的人,而是最能在设计方面整合它的人。他在El Faro中隐藏传感器的建议代表了重视传统和技术的市场的智能解决方案。

如果专利在生产中实现,我们可以在2026年的下一代品牌巡洋舰中看到该系统,这标志着古典美学与高级安全之间的平衡。

将近五年, 印度人 调查基于雷达的自适应巡航控制的合并,该技术已经实施了等品牌 杜卡迪,,,, KTM 任何一个 宝马 在旅游和体育模特中。

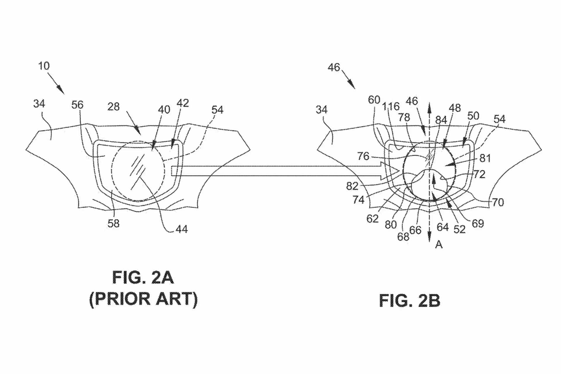
但是,与这些更现代的切割摩托车不同,美国伟大的巡洋舰在很大程度上取决于他们的美学来征服客户。一个安装在整流罩上的可见和矩形传感器可能是试图传递传统,抛光金属和干净线条的集合中的元素。

因此 印度人 将这项技术推向市场不仅仅是竞争对手。到目前为止,他们的雷达系统仅在后部设置为死角检测和后碰撞警报功能。

印度灯塔的雷达传感器

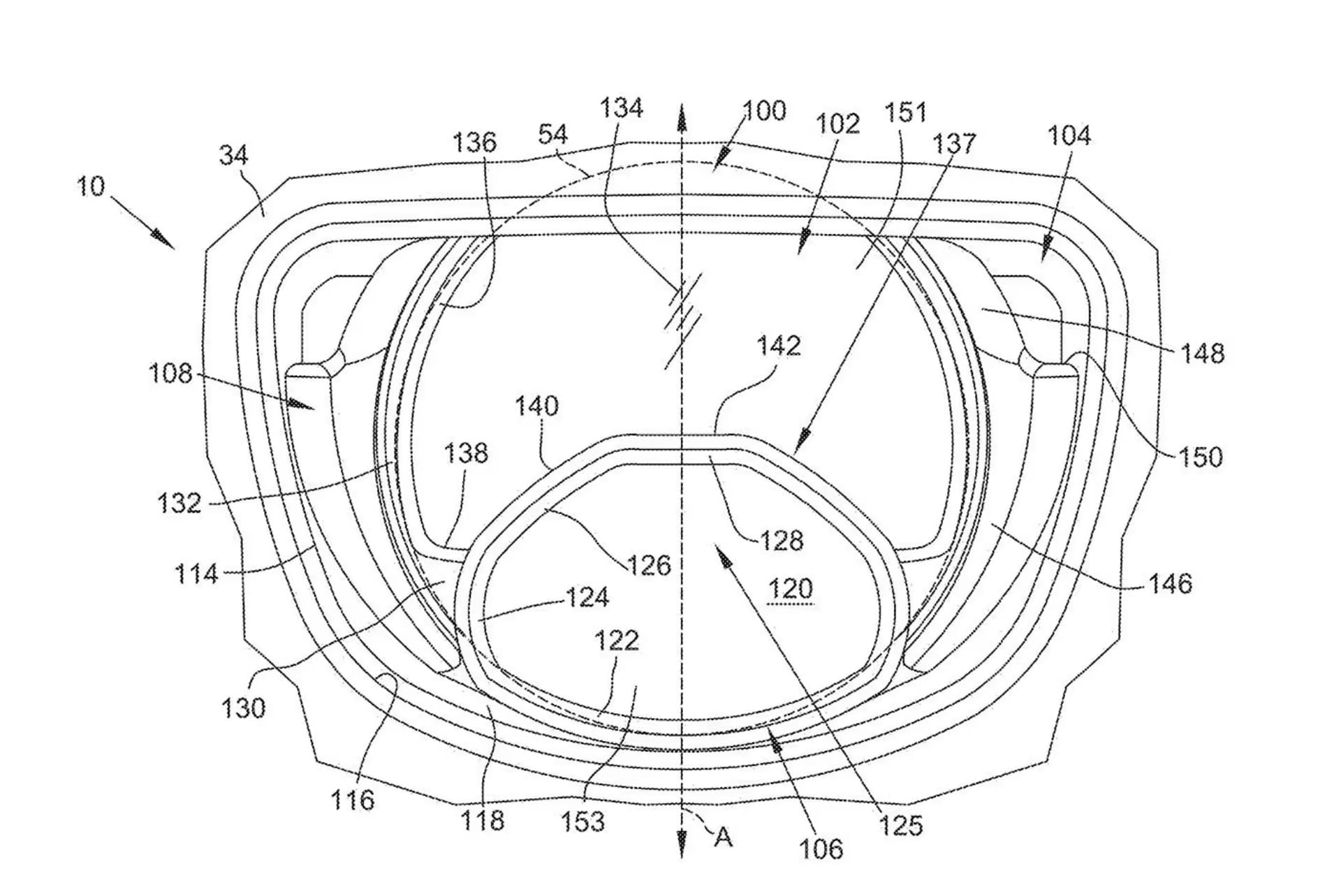
这是印度的新专利

新专利描述了一个圆形灯塔,分为两个部分。上面的新月形为LED和越过LED照明的形状,以及较小的较小,藏在透明镜头后面的雷达模块后面。该规定利用了两个关键的进步。一方面,新传感器的大小不再需要那么多空间。另一方面,LED照明的灵活性可以减少主投影仪占据的表面。

因此,灯塔保持了经典和坚固的轮廓,该轮廓的特征是 路线大师,,,, 挑战者 任何一个 追求,但是在整合先进的安全技术的情况下,没有在体内添加“肿块”。镜头的塑料材料没有金属涂层,可以使雷达波不变地交叉,从而保证系统的功效。

查看眼睛:锻造摩托车系列,首映本赛季第二集

印度灯塔的雷达传感器

运动 印度人 它到达其他品牌已经部署了自己的解决方案的时候。 杜卡迪 首映的自适应巡航控制 Multistrada V4 2020年; KTM1290超级冒险S;和 宝马 他将其纳入了 R 1250 RT 后来在 r 18跨大陆。但是,这些摩托车通常会明显显示传感器,这在更现代的设计中不是问题,而是带有复古DNA的摩托车。

专利文档不仅指向自适应巡航控制。 印度人 它还探讨了雷达与高级相机和算法的综合用途,这些相机和算法允许以协调的方式进行几组圆形摩托车,从而阻止系统在路上循环时发出不必要的警告。在集会和群体路线的背景下,这尤其有趣,在美国,印度人在美国拥有强大的存在。

印度灯塔的雷达传感器

此外,该品牌还包括未来在自动制动系统中进行降低影响的应用程序,这已经由其他制造商研究,并且可能会成为以下两个轮子主动安全性的巨大进步。下一个逻辑步骤将是将雷达与半自动传输相结合,这是欧洲和日本制造商已经探索的趋势。

KTM例如,已经开发了一个系统,该系统允许完全停止摩托车并在没有飞行员干预的情况下恢复游行,所有这些系统都与自适应巡航控制同步管理。 印度人,就目前而言,它没有这样的传输,但是如果您想保持竞争力在面前 哈雷戴维森,,,, 宝马杜卡迪

印度灯塔的雷达传感器